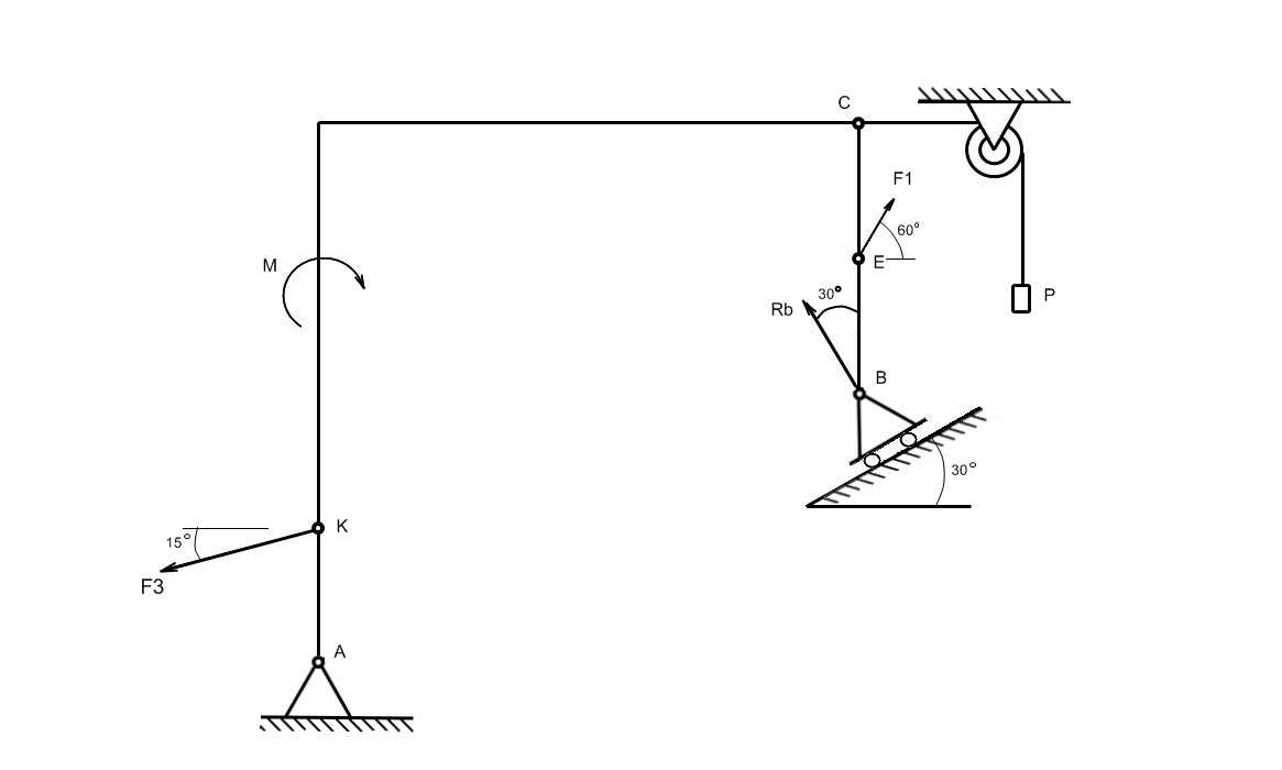
Дано: F1=10кН, угол 60 град, приложена к точке Е, F3=30 кН, угол 15 град, приложена к точке К, Р=25кН, М=100кН. трением ролика пренебречь. СЕ=ЕB=КА (по оси Y расстояние от С до А = 4а, по оси Х = 4а) квадрат в общем.

найти реакции в точках А, В.

Решение:
разложил силы на составляющие...
F1' = F1*cos 60 = 5
F1'' = F1*sin 60 = 8.7

F3' = F3*cos 15 = 28.9
F3'' = F3*sin 15 = 7.7646

Rb' = Rb*cos 60 = 1/2 *Rb
Rb'' = Rb*sin 60 = 0.87 *Rb

T=P (сила появилась в результати действия груза, приложена к точке С)
T' = T
T'' = 0

составляем уравнения равновесия:

Xa +F1' - F3' - Rb' +T'=0 (1)
Ya +F1''-F3''+Rb''=0 (2)
M-(Rb''*4a + F1''*4a - F3''*0a + T''*4a - Rb'*2a - F3*0a + F1'*3a + T'*4a) = 0 (3)

подставил значения:
100 - 66,2 - 1,24*Rb = 0
Rb = 27.3

решаем первые два уравнения:
Xa + 5 - 28.9 - 1/2*27.3 + 25 = 0
Xa = 12.6 кН


Ya + 8.7 - 7.8 + 0.87*27.3 = 0
Ya = -24.7 кННажмите для просмотра прикрепленного файла